نظم التغذية ونقل الطاقة الكهربية
اختيار دوائر التغذية Choice of Supply Circuits
1 -تغذية بجهد يساوي جهد المولديعتمد اختيار المخطط الكهربي لمحطات القوي على طبيعة الأحمال وأهمية استمرار التغذية لها ، كذلك على المرونة فى التشغيل وسهولة إجراء الصيانة للمعدات الكهربية ، ويوجد عديد من المخططات المنفذة لكن بصور رئيسية يمكن اعتبارها تندرج من إحدى المخططات الأساسية أو إنها عبارة عن خليط منها. وتندرج هذه المخططات من دائرة واحدة إشعاعية بسيطة إلى عدة دوائر متداخلة للمحافظة على استمرارية التغذية الكهربية ويعني ذلك زيادة فى استخدام نظم الحماية وبالتالي زيادة فى التكلفة الاقتصادية مع تعقيد فى التشغيل .
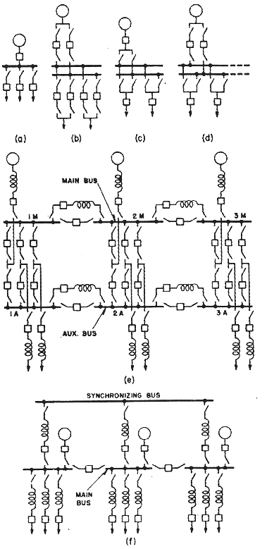
يوضح الشكل عدة أنظمة للقضبان (Buses) والتى تتصل بمغذيات (Feeders) ذات جهد يساوي جهد التوليد ، والجزء (a) من الشكل يمثل أبسط المخططات الكهربية والتى يمكن أن نقطع التغذية عن الأحمال لفترة . ويوجد جهاز قطع (circuit breaker) للمولد ، كذلك على كل مغذي لتوصيل الأحمال والحماية فى حالة القصر . ويوجد على كل مغذي أيضًا مفتاح فصل disconnecting switch والهدف منه هو الحماية الأحتياطية back up عند إجراء صيانة فى جهاز القطع المفتوح علي المغذي. و في أغلب الأحيان يتصل هذا المفتاح بالأرضي للحماية وتسريب أي شحنة متبقية.
فى الجزء (b) من الشكل يستخدم قضيبان وأجهزة القطع والمفاتيح وذلك للأحمال التي تتطلب استمرارية فى التغذية ويمكن إجراء صيانة لجهاز قطع المولد أو القضيب دون انقطاع للتغذية وتوفير الحماية للأشخاص الذين يقومون بعمليات الصيانة.
والجزئان (c) ، (d) مخططان أقل فى المرونة من (b) .
عند استخدام قضيبان للتوزيع يمكن أن يصل بينهم جهاز قطع Selector breaker لاختيار قضيب التغذية كذلك يعمل فى حالة عطل جهاز قطع المغذي كحماية أحتياطية فى حالة القصر على المغذي .
ويستخدم جهاز قطع على القضيب bus - tie breaker وذلك عند التغذية بأكثر من مولد بحيث ينتهي كل مولد على جزء من القضيب و ذلك لتجنب فرق الجهد في القيمة و الزاوية علي جزئي القضيب خلال المفاعلة عند انقطاع التغذية من أحد المولدات والتى تسبب تيارات دوارة فى الدائرة circulating current .
و الجزئان (f) ، (e) يبيان مخططا أكثر تطورًا.
وفى كل المخططات السابقة لا بد من توافر محولات التيار والجهد التى تغذي أجهزة الحماية . كذلك أجهزة القياس للكميات الكهربية مثل التيار والجهد و وحدات التحكم التى تمكن مشغل النظام operator من توصيل أو فصل أي معدة كهربية . كذلك لا بد من توفر قضيب التأريض Ground Bus لتأريض المغذيات أثناء الصيانة لها أو الإصلاح . كذلك قد توجد حوائط عازلة للنيران Fire walls بين أجزاء القضبان منعًا لامتداد النيران إلى كل الأجزاء .
2 -تغذية من خلال محولات رفع الجهدفى هذه الحالة تستخدم المحولات لرفع جهد التوليد وتوجد عدة مخططات بينهما الشكل حيث يمكن أن يرتبط كل مولد بمحول ثم بمغذي ، جزء (a) من الشكل . أو تتم تغذية المولدات على قضيب تخرج منه مغذيات ذات جهد يساوي جهد التوليد والأخري على محولات لرفع الجهد ، جزء (b) من الشكل ، والجزء (c) من نفس الشكل يوضح مخططا يسمح باستمرارية التغذية طوال الوقت أما الشكل (d) فيسمح بمرونة فى التشغيل مع استخدام عدد أقل من أجهزة القطع عن الحالة (c) .
أهمية خطوط نقل الطاقة الكهربية :
تستخدم خطوط النقل Transmission lines لنقل الطاقة الكهربية من أماكن التوليد سواء محطات مائية حرارية - غازية - نووية وغيرها إلى أماكن مراكز الأحمال الكهربية. كذلك تستخدم الخطوط - تسمي خطوط الربط Tie line - لربط نظم القوي الكهربية .

Dr. M. Walid Issa